Patents
In my early career I was lucky enough to get a few patents, three of which are for a design still used in auto headlights today and one of which is still used in many emergency lighting systems.

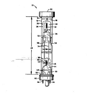
United States Patent 4,912,360 - Lamp With Two Internal Capsules
Abstract: A double filamented lamp with one filament being a back up for the other filament may be formed with two internal capsules enclosed in a single exterior sheath. Each filament is securely positioned away from, and protected from the activity of the other filament. By securely coupling one capsule to the sheath, and the second capsule to the lamp base, both capsules are accurately positioned, and do not vibrate in the exterior sheath.

United States Patent 4,982,131 - Reflector Lamp Assembly Utilizing Lamp Capsule That Snaps Directly Into Reflector
United States Patent 4,982, 132 - Reflector Lamp Assembly Utilizing Reflector That Snaps Into Connector
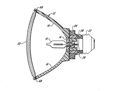
United States Patent 5,119,282 - Reflector Lamp Assembly Utilizing Lens That Snaps Into Reflector
Abstract: A lamp assembly includes a lamp capsule, a reflector, an electrical connector and a lens. The lamp capsule includes a lamp envelope having a base portion, and the reflector includes an opening for receiving the base portion of the lamp envelope. The reflector is fabricated of a resilient material such as a high temperature thermoplastic or thermosetting plastic. The base portion of the lamp capsule and the reflector include lamp introducing elements which mechanically lock the lamp capsule in the reflector. The lamp interlocking elements preferably position the center of light output of the lamp capsule at the focal point of the reflector. The connector and a neck portion of the reflector include connector interlocking elements which mechanically lock the connector to the reflector. The lens and the outer rim of the reflector include integral lens interlocking elements which mechanically lock and position the lens on the reflector.